WELCOME TO HONYONE ELECTRICAL CO.,LIMITED Hotline:(86)-769-86888706      中文版  /  English
Products
Products
CLASSIFICATION
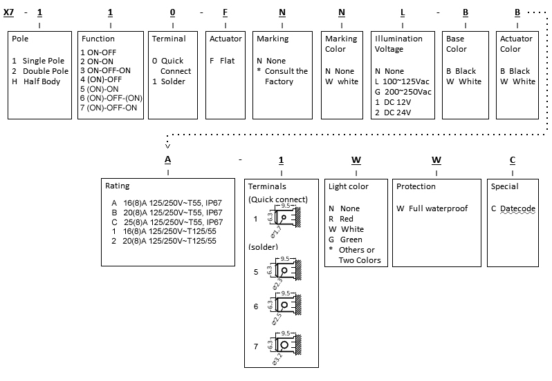
PRODUCT MODEL:X7-H10F2N-LBB1-1NWC
X7-H10F2N-LBB1-1NWC
PRODUCT SPECIFICATION:
ROCKER SWITCH MODEL: X7 SERIES .
RATING: 16(4)A 125/250VAC ~μT 125/55
DIELECTRIC WITHSTAND VOLTAGE: 1500VAC 1 MINUTE
INSUL ATION RESISTANCE: 500VDC 100M Q (MIN)
CONTACT RESISTANCE: 20m Q INITIAL (MAX.)
ILLUMINATION: 100~125VAC
WATERPROOF GRADE:IP67
Application:
Computer Peripherals  电脑外设
Telecommunications network 电信网络
TV Set-top box  电视机顶盒
Lamp Lighting 灯具照明
Consumer Electronics 消费类电子
Household appliances 家用电器
Car Rail Transportation 汽车轨道交通
Electronic toys  电子玩具
Power Tools Series 电动工具类
Industrial automation工业自动化
DRAWING

ORDER CODING DIAGRAM

Hotline:
(86)-769-86888706
WeChat
WhatsApp
HONYONE ELECTRICAL CO.,LTD  ALL RIGHTS RESERVED: 粤ICP备2024280825号 粤公网安备44190002008026